什么是安全栅?什么是信号隔离器?
2023-02-13 开云kaiyun(中国)
CFB锅炉的各设备的作用
换热器头盖法兰的带压堵漏案例分享
2023-02-11 开云kaiyun(中国)
分享常用金属材料硬度对照表
锅炉“干锅”有什么危害?如何处理?
热电偶补偿原理知识分享
2023-02-06 开云kaiyun(中国)
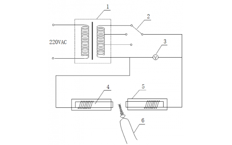
一种贵金属热电偶焊接装置
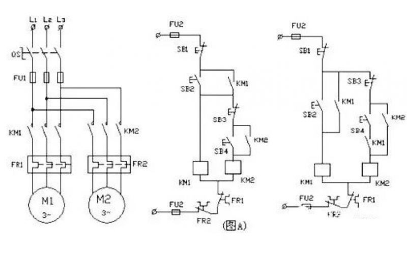
电动机控制线路故障查找方法